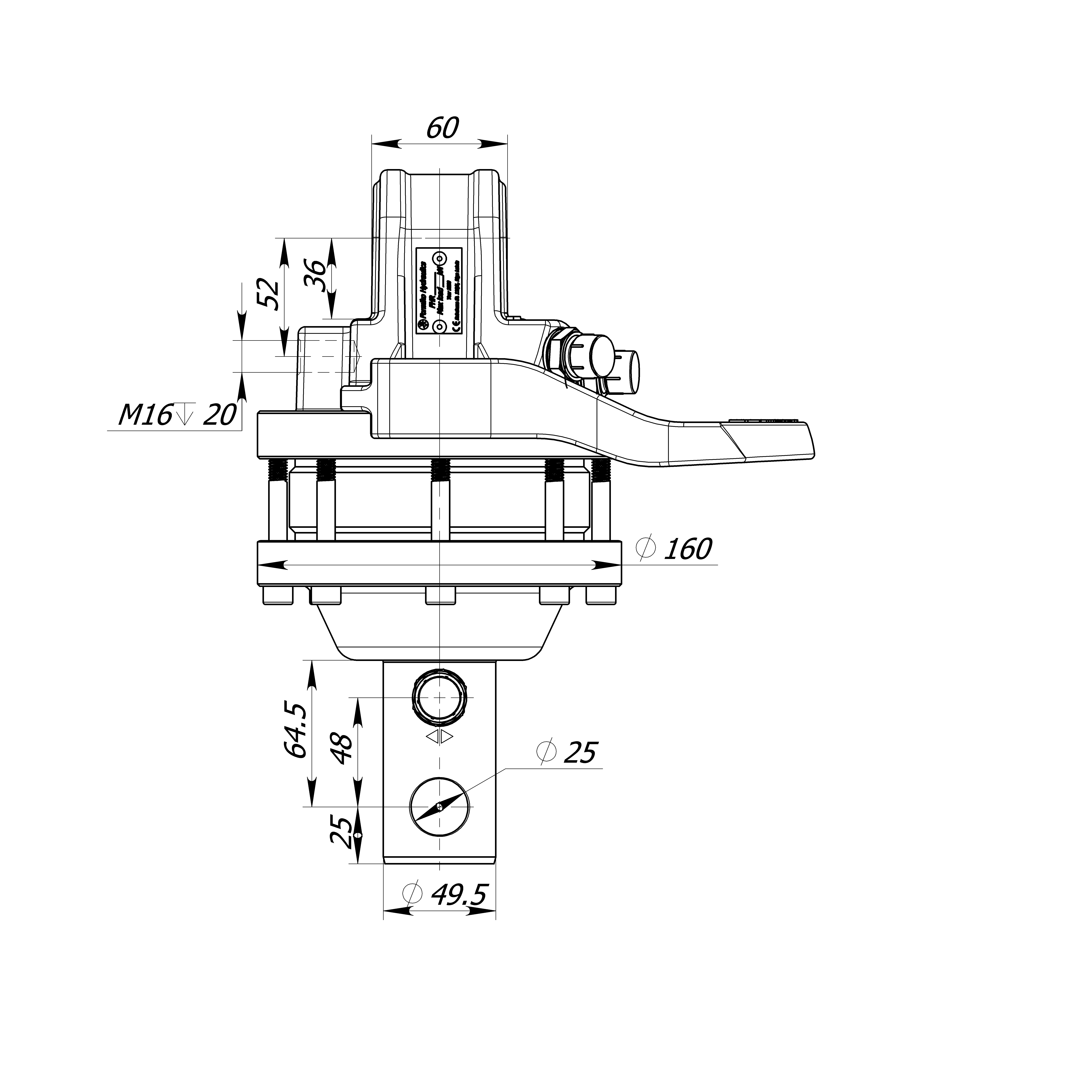
размеры и гидравлические присоединения верхней части ротатора
L60 Ø25
мм
R
3/8"
BSP
R
250
бар
GO/GC
3/8"
BSP
GO
200
бар
GC
300
бар
Верхняя часть ротатора выполнена в виде одиночной проушины для шарнирного соединения. Крепкая и надёжная конструкция, позволяющая выдерживать перегрузки. Ширина одиночной проушины является стандартной 60мм и диаметр оси (пальца) 25мм.
опция
доступны штуцеры с метрической резьбой по запросу FHR 3L
гидравлические присоединения нижней части ротатора
Ø49.5 Ø25
мм
GO/GC
3/8"
BSP
Нижняя часть ротатора исполнена в виде вала для соединения с грейфером через монтажный цилиндр (стакан) и фиксацией при помощи оси (пальца). Диаметр оси (пальца) равен 49.5мм и диаметр пальца (в комплект не входит) 25мм
опция
доступны штуцеры с метрической резьбой по запросу FHR 3L
Для лесозаготовки
Для сельского и фермерского хозяйства
Для дорожно-строительных работ
Ротатор FHR 3L габаритный чертёж
гидравлический ротатор FHR 3L
является экономически выгодным решением обычно используется по сезону
в лесозаготовке, в сельском хозяйстве, в дорожно-строительной отрасле, в грузоперевозках и перегрузке материалов и сырья.
канал раскрывания грейфера (GO): 3/8"BSP MAX 200бар
GC
канал закрывания грейфера (GC): 3/8"BSP MAX 300бар
Верхняя часть ротатора выполнена в виде одиночной проушины для шарнирного соединения. Крепкая и надёжная конструкция, позволяющая выдерживать перегрузки. Ширина одиночной проушины является стандартной 60мм и диаметр оси (пальца) 25мм.
Нижняя часть ротатора исполнена в виде вала для соединения с грейфером через монтажный цилиндр (стакан) и фиксацией при помощи оси (пальца). Диаметр оси (пальца) равен 49.5мм и диаметр пальца (в комплект не входит) 25мм
Ротатор FHR 3L конструктивно представляет собой надёжный лопастной мотор, обеспечивающий крутящий момент 900Нм при 25МПа.
Formiko ротатор FHR 3L является совместимым с
FHL 01-A/B-60/25
and FHL 01B-A/B-60/25
and FHL 05B-A/B-60/25
and FHL 05-A/B-60/25
and FHL 04-2525
линейками подвесок.
Ротатор для транспортировки упаковывается в компактную картонную коробку размерами
340x230x240мм.
На эту продукцию предоставляем гарантию ДВА года ротатор.